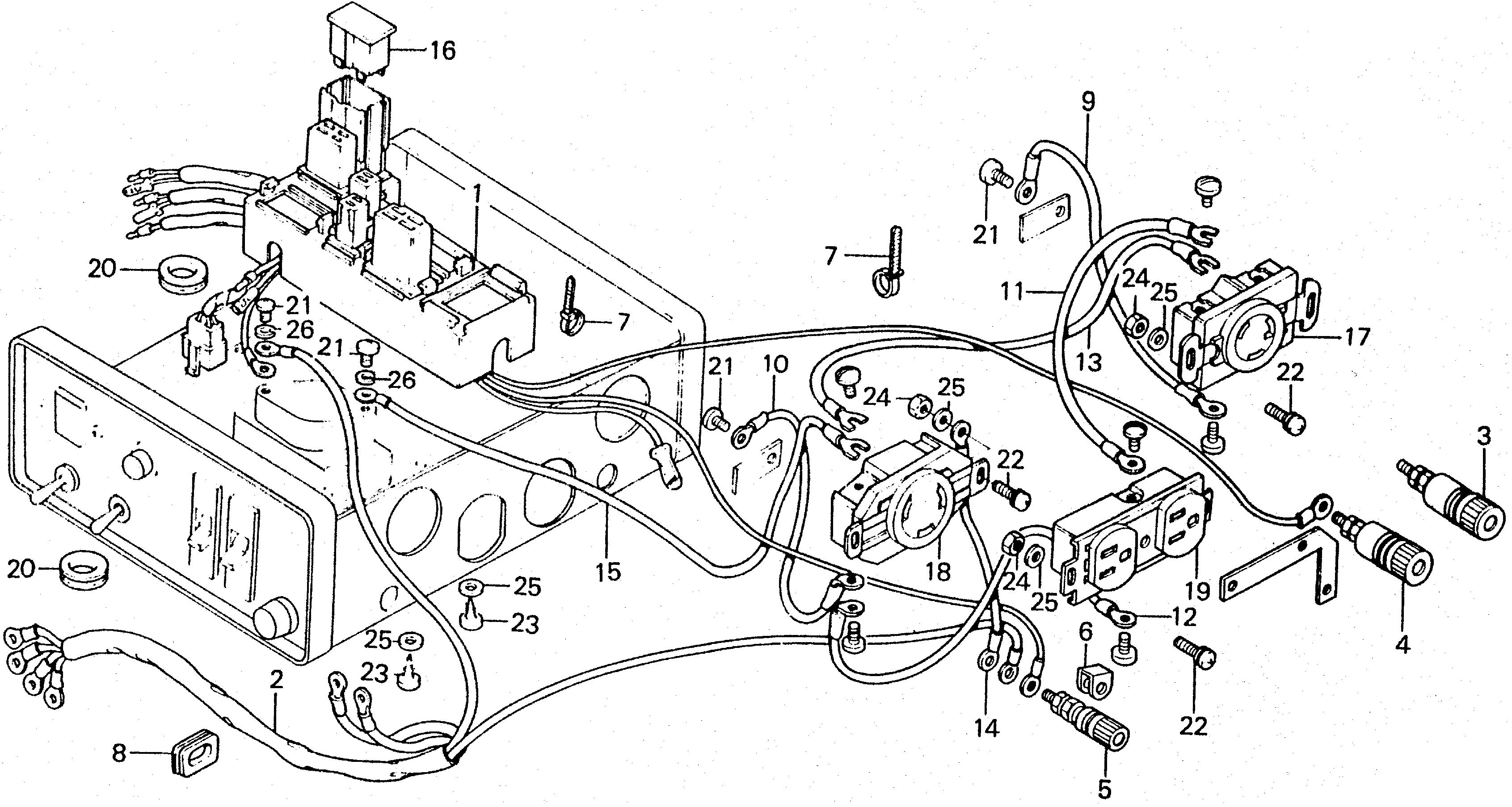
Generators E E4500 E4500K1 A E4500-1000005-1020560 E4500 WIRE HARNESS@RECEPTACLE - 110 Honda

Ref No
Part Number
Description
Serial Range
Qty
Price

Ref No
1
Part Number
31404-893-003
Description
WIRE HARNESS
Serial Range
1000001 - 9999999

Ref No
2
Part Number
31405-893-681
Description
WIRE, A.C. OUTLET
Serial Range
1000001 - 9999999

Ref No
3
Part Number
31408-880-000
Description
TERMINAL, D.C. OUTPUT (+)
Serial Range
1000001 - 9999999
Qty
Price
$45.58

Ref No
4
Part Number
31409-880-000
Description
TERMINAL, D.C. OUTPUT (-)
Serial Range
1000001 - 9999999
Qty
Price
$45.58

Ref No
5
Part Number
31428-880-000
Description
TERMINAL ASSY., GROUND (NOT AVAILABLE)
Serial Range
1000001 - 9999999

Ref No
6
Part Number
31429-893-003
Description
PLATE, GROUND
Serial Range
1000001 - 9999999

Ref No
7
Part Number
31431-893-003
Description
CLAMP, WIRE HARNESS
Serial Range
1000001 - 9999999

Ref No
8
Part Number
31481-880-000
Description
GROMMET, A.C. WIRE
Serial Range
1000001 - 9999999
Qty
Price
$7.04

Ref No
9
Part Number
31561-893-681
Description
WIRE, RECEPTACLE CIRCUIT BREAKER CONNECTING (200V) (NOT AVAILABLE)
Serial Range
1000001 - 9999999

Ref No
10
Part Number
31562-893-681
Description
WIRE, RECEPTACLE CIRCUIT BREAKER CONNECTING (100V)
Serial Range
1000001 - 9999999

Ref No
11
Part Number
31563-893-681
Description
WIRE, RECEPTACLE CONNECTING (100V-200V)
Serial Range
1000001 - 9999999

Ref No
12
Part Number
31564-893-681
Description
WIRE, RECEPTACLE CONNECTING
Serial Range
1000001 - 9999999

Ref No
13
Part Number
31566-893-681
Description
WIRE, RECEPTACLE CONNECTING (100V-200V) (NOT AVAILABLE)
Serial Range
1000001 - 9999999

Ref No
14
Part Number
31571-893-681
Description
WIRE, GROUND
Serial Range
1000001 - 9999999

Ref No
15
Part Number
31572-893-681
Description
WIRE, IDLE CONTROL UNIT CONNECTING (NOT AVAILABLE)
Serial Range
1000001 - 9999999

Ref No
16
Part Number
31710-893-003
Description
STACK ASSY., DIODE (2.7A)
Serial Range
1000001 - 9999999

Ref No
17
Part Number
32331-880-710
Description
RECEPTACLE (20A 250V) (NOT AVAILABLE)
Serial Range
1000001 - 9999999

Ref No
18
Part Number
32332-880-710
Description
RECEPTACLE (30A/125V)
Serial Range
1000001 - 9999999
Qty
Price
$26.79

Ref No
19
Part Number
32333-880-680
Description
RECEPTACLE (15A/125V)
Serial Range
1000001 - 9999999
Qty
Price
$80.04

Ref No
20
Part Number
36037-657-000
Description
GROMMET A, TUBE
Serial Range
1000001 - 9999999
Qty
Price
$9.02

Ref No
21
Part Number
93500-05008-3J
Description
SCREW, PAN (5X8)
Serial Range
1000001 - 9999999
Qty
Price
$1.14

Ref No
22
Part Number
93892-04012-08
Description
SCREW-WASHER (4X12)
Serial Range
1000001 - 9999999
Qty
Price
$0.78

Ref No
23
Part Number
93901-24320
Description
SCREW, TAPPING (4X12)
Serial Range
1000001 - 9999999
Qty
Price
$1.10

Ref No
24
Part Number
94001-04080-0S
Description
NUT, HEX. (4MM)
Serial Range
1000001 - 9999999
Qty
Price
$1.26

Ref No
25
Part Number
94101-04800
Description
WASHER, PLAIN (4MM)
Serial Range
1000001 - 9999999
Qty
Price
$1.20

Ref No
26
Part Number
94111-05000
Description
WASHER, SPRING (5MM)
Serial Range
1000001 - 9999999
Qty
Price
$1.38