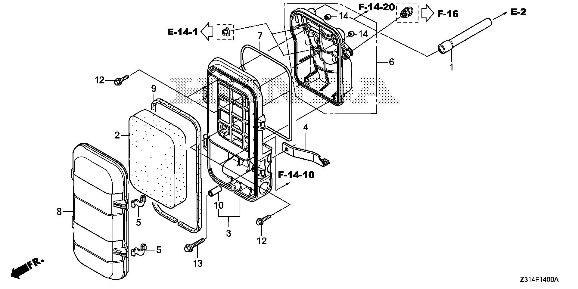
Generators EG EG5000 EG5000CL AT1 EBEC-1000001-1499999 AIR CLEANER - 110 Honda

Ref No
Part Number
Description
Serial Range
Qty
Price

Ref No
1
Part Number
15721-Z23-H60
Description
TUBE, BREATHER
Serial Range
1000001 - 9999999
Qty
Price
$6.02

Ref No
2
Part Number
17211-899-000
Description
ELEMENT, AIR CLEANER
Serial Range
1000001 - 9999999

Ref No
3
Part Number
17220-Z30-S30
Description
HOUSING, AIR CLEANER
Serial Range
1000001 - 9999999
Qty
Price
$74.62

Ref No
4
Part Number
17222-Z23-H60
Description
STAY, AIR CLEANER
Serial Range
1000001 - 9999999
Qty
Price
$8.12

Ref No
5
Part Number
17223-Z23-000
Description
SPRING, AIR CLEANER HOUSING LID
Serial Range
1000001 - 9999999
Qty
Price
$2.50

Ref No
6
Part Number
17223-Z23-S30
Description
BASE, AIR CLEANER
Serial Range
1000001 - 9999999
Qty
Price
$60.62

Ref No
7
Part Number
17229-Z23-H60
Description
SEAL, AIR CLEANER HOUSING
Serial Range
1000001 - 9999999
Qty
Price
$11.64

Ref No
8
Part Number
17231-Z23-H60
Description
COVER, AIR CLEANER
Serial Range
1000001 - 9999999
Qty
Price
$62.66

Ref No
9
Part Number
17233-Z23-H60
Description
SEAL, AIR CLEANER COVER
Serial Range
1000001 - 9999999
Qty
Price
$17.52

Ref No
10
Part Number
17238-ZE7-710
Description
COLLAR, AIR CLEANER
Serial Range
1000001 - 9999999
Qty
Price
$4.18

Ref No
12
Part Number
90005-ZM3-000
Description
BOLT, FLANGE (5X18)
Serial Range
1000001 - 9999999
Qty
Price
$1.60

Ref No
13
Part Number
95701-06032-08
Description
BOLT, FLANGE (6X32)
Serial Range
1000001 - 9999999
Qty
Price
$2.30

Ref No
14
Part Number
17238-ZG9-M00
Description
COLLAR, AIR CLEANER
Serial Range
1000001 - 9999999
Qty
Price
$6.10