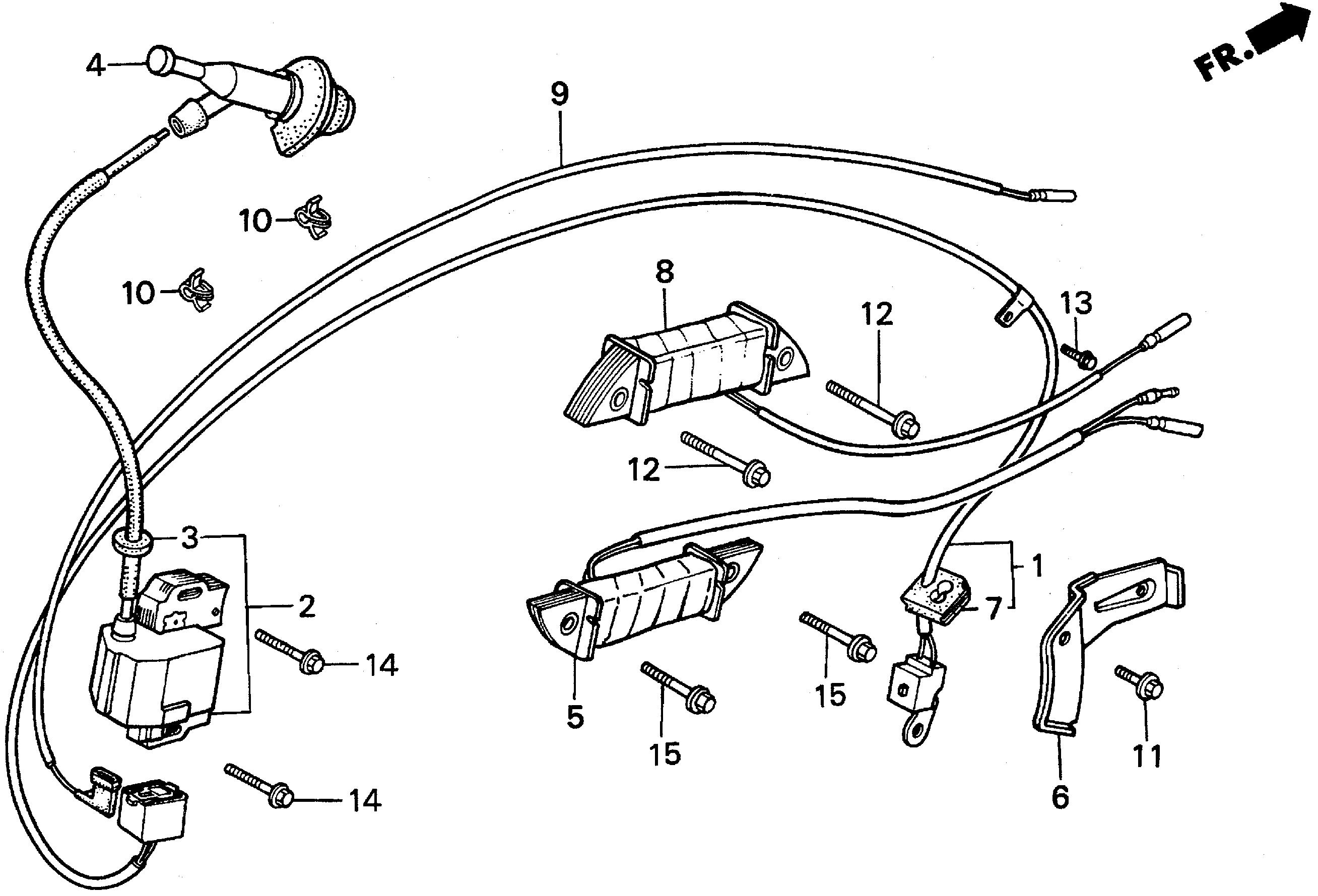
Ref No
Part Number
Description
Serial Range
Qty
Price
Ref No 1
Part Number 30410-ZE3-811
Description COIL, PULSER (NOT AVAILABLE)
Serial Range 1000001 - 1253117
Ref No 2
Part Number 30500-ZE2-003
Description COIL ASSY., IGNITION
Serial Range 1253118 - 1457111
Qty
Price $137.84
Add To Cart
Ref No 2
Part Number 30500-ZE2-023
Description COIL ASSY., IGNITION
Serial Range 1457112 - 9999999
Qty
Price $55.44
Add To Cart
Ref No 2
Part Number 30500-ZE3-003
Description COIL ASSY., IGNITION
Serial Range 1000001 - 1253117
Qty
Price $156.35
Add To Cart
Ref No 2
Part Number 30500-ZF6-W02
Description COIL ASSY., IGNITION
Serial Range 1457112 - 9999999
Qty
Price $55.44
Add To Cart
Ref No 3
Part Number 30505-ZE6-000
Description GROMMET, IGNITION WIRE
Serial Range 1000001 - 1253117
Qty
Price $2.64
Add To Cart
Ref No 4
Part Number 30700-ZB7-013
Description CAP ASSY., NOISE SUPPRESSOR (NICHIWA Y-EZ RTFM256)
Serial Range 1000001 - 9999999
Ref No 5
Part Number 31510-ZB8-801
Description COIL ASSY., LAMP
Serial Range 1000001 - 9999999
Ref No 6
Part Number 31511-ZE3-000
Description CLAMP, WIRE
Serial Range 1000001 - 9999999
Qty
Price $6.32
Add To Cart
Ref No 7
Part Number 31512-ZE3-003
Description GROMMET, PULSER WIRE
Serial Range 1000001 - 1253117
Qty
Price $3.78
Add To Cart
Ref No 8
Part Number 31630-ZE1-013
Description COIL ASSY., CHARGE (1A)
Serial Range 1253118 - 9999999
Qty
Price $67.96
Add To Cart
Ref No 9
Part Number 36101-ZE3-700
Description WIRE, STOP SWITCH (470MM) (NOT AVAILABLE)
Serial Range 1000001 - 1457111
Ref No 9
Part Number 36101-ZE3-800
Description WIRE, STOP SWITCH (470MM)
Serial Range 1457112 - 9999999
Qty
Price $13.00
Add To Cart
Ref No 10
Part Number 36103-ZE1-000
Description HOLDER, STOP SWITCH WIRE
Serial Range 1000001 - 1423762
Qty
Price $2.40
Add To Cart
Ref No 11
Part Number 90013-883-000
Description BOLT, FLANGE (6X12) (CT200)
Serial Range 1423763 - 9999999
Ref No 12
Part Number 90014-ZE6-000
Description BOLT, FLANGE (6X35) (CT200)
Serial Range 1423763 - 9999999
Qty
Price $2.52
Add To Cart
Ref No 13
Part Number 90014-952-000
Description BOLT, FLANGE (6X14) (CT200)
Serial Range 1000001 - 1253117
Qty
Price $2.86
Add To Cart
Ref No 14
Part Number 90015-883-000
Description BOLT, FLANGE (6X28) (CT200)
Serial Range 1253118 - 9999999
Qty
Price $3.52
Add To Cart
Ref No 15
Part Number 90018-ZE1-000
Description BOLT, FLANGE (6X23) (CT200)
Serial Range 1253118 - 9999999
Qty
Price $2.14
Add To Cart